CHUYÊN TRANG EV VIỆT NAM - NGUỒN NĂNG LƯỢNG XANH

Toyota công bố bằng sáng chế mô phỏng hộp số 14 cấp cho xe điện

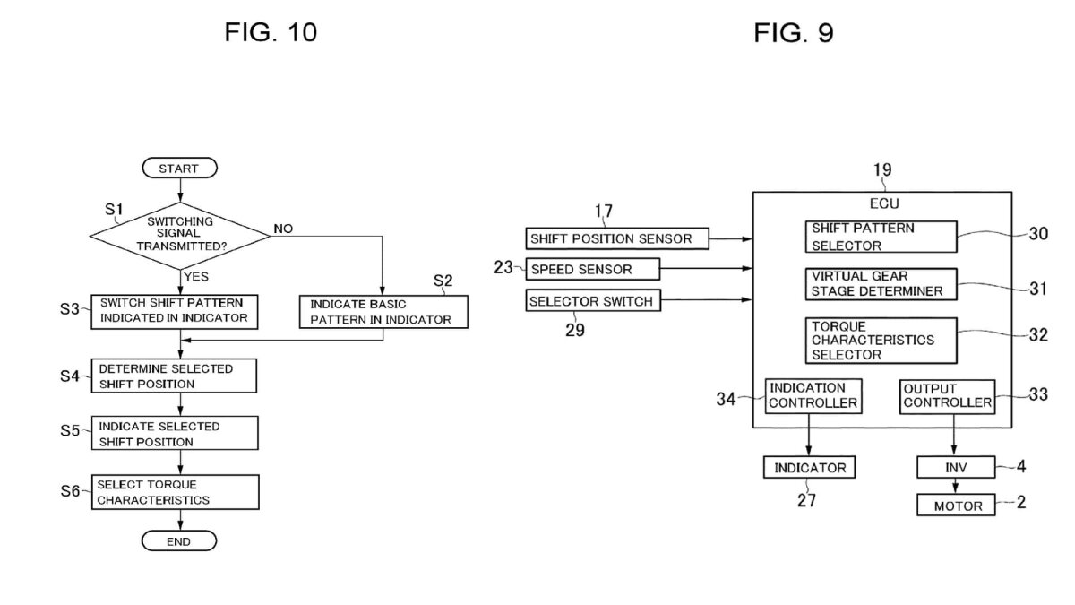
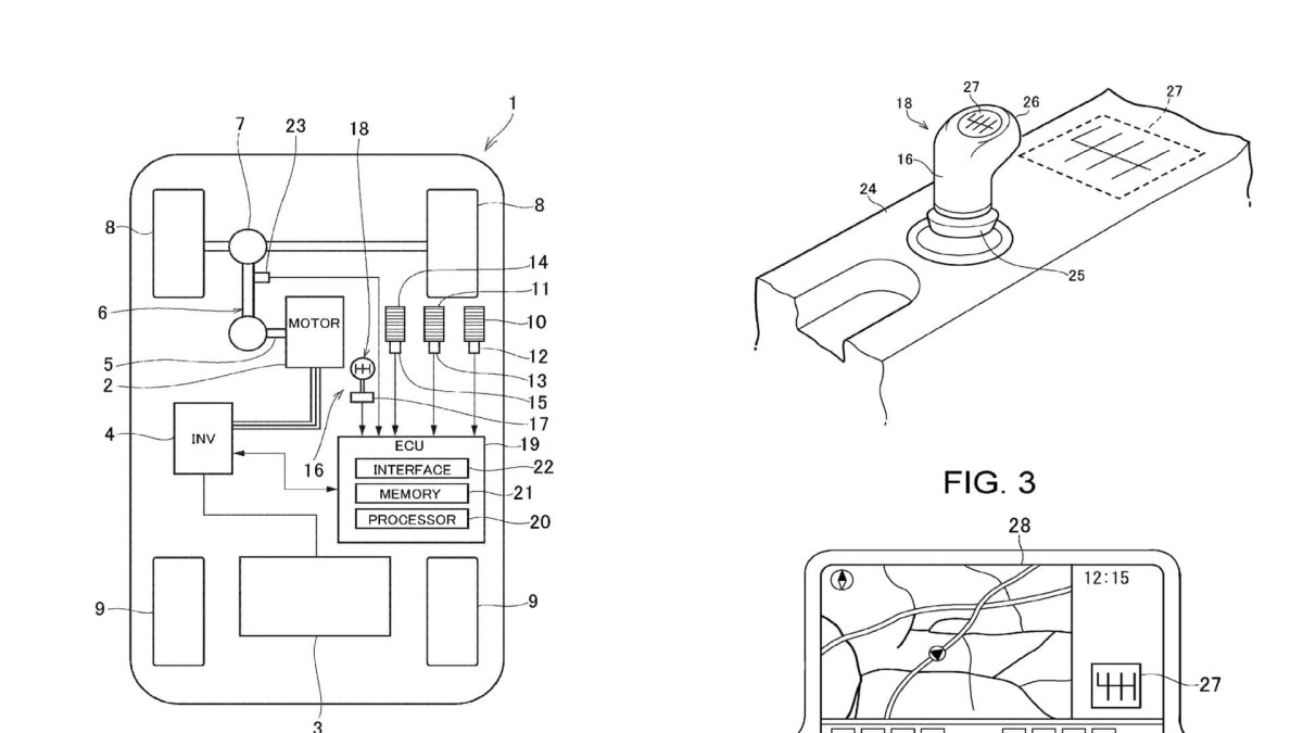
Theo Motor1, hãng xe Nhật Bản Toyota Motor mới đây đã công bố đơn xin cấp bằng sáng chế mới nhất của mình trong lĩnh vực xe điện, đó là một thiết bị mô phỏng hộp số tay với các lẫy chuyển số tương tự xe sử dụng nhiên liệu đốt trong thường thấy.

Hình ảnh trong bằng sáng chế cho thấy thiết bị cung cấp 14 cấp độ. Theo báo cáo, người lái xe có thể chọn chính xác tỷ số truyền mình muốn. Mô tả trong tài liệu bằng sáng chế nêu rõ nguyên tắc của thiết bị là sử dụng bộ điều khiển của động cơ điện để mô phỏng các tỷ số truyền ảo khác nhau, từ đó mang lại cho người lái trải nghiệm sang số tương tự như hộp số sàn.

 

Khi người lái chọn số cao nhất hoặc thấp nhất, hệ thống sẽ tự động chuyển sang bộ số ảo tương ứng. Ví dụ: nếu người dùng chọn “chế độ số 6” và hiện đang ở số 6, hệ thống sẽ thay đổi tỷ số truyền hiện có và nhắc người dùng chuyển sang số cao hơn hoặc giảm xuống số thấp hơn.


Trước đó, Toyota cho biết họ sẽ bổ sung hộp số sàn mô phỏng cho xe điện bắt đầu từ năm 2026, kết hợp nhằm mang tới trải nghiệm lái số tay truyền thống với xe điện.

Tại Tokyo Motor Show hồi đầu năm nay, Toyota đã trình diễn hai mẫu xe concept dựa trên huyền thoại AE86: tuy vẫn giữ nguyên hình dáng nguyên bản của mẫu xe cổ điển này nhưng phần sức mạnh được nâng cấp lên động cơ điện và hydrogen.

Trong số đó, AE86 thuần điện sử dụng động cơ dẫn động giống như Toyota Tundra Hybrid và được trang bị bộ pin giống như Prius mới. Ngoài ra, một số bộ phận của xe được chia sẻ với Lexus và trang bị hộp số sàn.

TH (trangcongnghe.com.vn)

Hình ảnh Sơn Nguyễn

Sơn Nguyễn

Content Creator

Xem gì ?

Xem nhiều
Bạn quan tâm